产品详情:
【ZU-H-BD-P压力管路过滤器简介】
该过滤器安装在液压系统的压力管路上,用以滤除液压油中混入的机械杂质和液压油本身化学变化所产生的胶质、沥清质、炭渣等,从而防止阀芯卡死、节流小孔缝隙和阻尼孔的堵塞以及液压元件过快磨损等。
该过滤器过滤效果好,精度高。
该过滤器设有压差发讯器装置,当滤芯污染堵塞到进出油口压差为0.35MPa时,即发出开关信号,此时更换滤芯,以达到保护系统安全的目的。
【型号说明】


【技术参数】
| 型号 | 通径 (mm) | 公称流量 (L/min) | 过滤精度(μm) | 公称压力 (Mpa) | 压力损失(MPa) | 发讯装置功率(V/W) | 重量(kg) | 滤芯型号 | 连接方式 | |
| Initial | Max | |||||||||
| Z QU-H10×*P | 15 | 10 | 1 3 5 10 20 30 | 32 | 0.08 | 0.35 | 24V/48W 220V/50W | 3.6 | HX-10×*# | 管式 |
| Z QU-H25×*P | 25 | 5.0 | HX-25×*# | |||||||
| Z QU-H40×*P | 20 | 40 | 0.1 | 8.0 | HX-40×*# | |||||
| Z QU-H63×*P | 63 | 9.8 | HX-63×*# | |||||||
| Z QU-H100×*P | 25 | 100 | 12.0 | HX-100×*# | ||||||
| Z QU-H160×*P | 32 | 160 | 0.12 | 18.2 | HX-160×*# | |||||
| Z QU-H250×*FP | 40 | 250 | 23.0 | HX-250×*# | 法兰式 | |||||
| Z QU-H400×*FP | 50 | 400 | 0.15 | 33.8 | HX-400×*# | |||||
| U-H630×*FP | 53 | 630 | 42.0 | HX-630×*# | ||||||
| Z QU-H800×*FP | 53 | 800 | 52.0 | HX-800×*# | ||||||
注:*为过滤精度,#为过滤材料,若使用介质为水—乙二醇,滤材为纸质,带发讯器和旁通阀,则过滤器型号为:ZUI·BH—H63×*P,滤芯型号为HX·BH-63×*滤材为化纤,带发讯器,则过滤器型号为:QU·BH-63×*P, 滤芯型号为:HX·BH-63×*Q,滤材为金属网,带发讯器,则过滤型号为:WU-H63×*P,滤芯型号为:HX-63×*W
【滤芯压差流量曲线】
滤芯HX-※x※(由试验测得数据)
Q-△P曲线油液粘度

【技术参数】
| 号 | 通径(mm) | 公称流量(L/min) | 过滤精度(μm) | 公称压力(Mpa) | 压力损失(MPa) | 发讯装置功率(V/W) | 重量(kg) | 滤芯型号 | 连接方式 | |
| Initial | Max | |||||||||
| U-H10×*BP | 15 | 10 | 1 3 5 10 20 30 40 | 32 | 0.08 | 0.35 | 24V/48W 220V/50W | 5.7 | HBX-10×*# | 板式 |
| U-H25×*BP | 25 | 7.0 | HBX-25×*# | |||||||
| U-H40×*BP | 25 | 40 | 0.1 | 11.5 | HBX-40×*# | |||||
| U-H63×*BP | 63 | 13.2 | HBX-63×*# | |||||||
| U-H100×*BP | 100 | 15.0 | HBX-100×*# | |||||||
| U-H160×*BP | 32 | 160 | 0.12 | 21.4 | HBX-160×*# | |||||
| U-H250×*BP | 40 | 250 | 25.7 | HBX-250×*# | ||||||
| U-H400×*BP | 50 | 400 | 0.15 | 38.0 | HBX-400×*# | |||||
| U-H630×*BP | 630 | 42.3 | HBX-630×*# | |||||||
| U-H10×*DLP | 15 | 10 | 0.08 | 8.5 | HDX-10×*# | 倒装 管式 | ||||
| U-H25×*DLP | 25 | 9.9 | HDX-25×*# | |||||||
| U-H40×*DLP | 20 | 40 | 0.1 | 16.4 | HDX-40×*# | |||||
| U-H63×*DLP | 63 | 18.9 | HDX-63×*# | |||||||
| U-H100×*DLP | 25 | 100 | 22.5 | HDX-100×*# | ||||||
| U-H160×*DLP | 32 | 160 | 0.15 | 33.4 | HDX-160×*# | |||||
| U-H10×*DFP | 15 | 10 | 0.08 | 8.6 | HDX-10×*# | 倒装 法兰式 | ||||
| U-H25×*DFP | 25 | 10.0 | HDX-25×*# | |||||||
| U-H40×*DFP | 20 | 40 | 0.1 | 16.6 | HDX-40×*# | |||||
| U-H63×*DFP | 63 | 19.2 | HDX-63×*# | |||||||
| U-H100×*DFP | 25 | 100 | 22.9 | HDX-100×*# | ||||||
| U-H160×*DFP | 32 | 160 | 0.12 | 34.0 | HDX-160×*# | |||||
| U-H250×*DFP | 40 | 250 | 41.9 | HDX-250×*# | ||||||
| U-H400×*DFP | 50 | 400 | 0.15 | 57.6 | HDX-400×*# | |||||
| U-H630×*DFP | 53 | 630 | 62.4 | HDX-630×*# | ||||||
| U-H10×*DFAP | 15 | 10 | 0.08 | 8.6 | HDX-10×*# | 倒装 法兰式 A型 | ||||
| U-H25×*DFAP | 25 | 10.0 | HDX-25×*# | |||||||
| U-H40×*DFAP | 20 | 40 | 0.1 | 16.6 | HDX-40×*# | |||||
| U-H63×*DFAP | 63 | 19.2 | HDX-62×*# | |||||||
| U-H100×*DFAP | 25 | 100 | 22.9 | HDX-100×*# | ||||||
| U-H160×*DFAP | 32 | 160 | 0.12 | 34.0 | HDX-160×*# | |||||
| U-H400×*DFAP | 40 | 250 | 41.9 | HDX-250×*# | ||||||
| U-H40×*DFBP | 50 | 400 | 0.15 | 57.6 | HDX-400×*# | |||||
| U-H630×*DFAP | 53 | 630 | 62.4 | HDX-630×*# | ||||||
| U-H10×*DFBP | 15 | 10 | 0.08 | 8.6 | HDX-10×*# | 倒装 法兰式 B型 | ||||
| U-H25×*DFBP | 25 | 10.0 | HDX-25×*# | |||||||
| U-H250×*DFAP | 20 | 40 | 0.1 | 16.6 | HDX-40×*# | |||||
| U-H63×*DFBP | 63 | 19.2 | HDX-63×*# | |||||||
| U-H100×*DFBP | 25 | 200 | 22.9 | HDX-100×*# | ||||||
| U-H160×*DFBP | 32 | 160 | 0.12 | 34.0 | HDX-160×*# | |||||
| U-H250×*DFBP | 40 | 250 | 41.9 | HDX-250×*# | ||||||
| U-H400×*DFBP | 50 | 400 | 0.15 | 57.6 | HDX-400×*# | |||||
| U-H630×*DFBP | 53 | 630 | 62.4 | HDX-630×*# | ||||||
| U-H10×*BDP | 15 | 10 | 0.08 | 8.4 | HDX-10×*# | 倒装板式 | ||||
| U-H25×*BDP | 25 | 9.8 | HDX-25×*# | |||||||
| U-H40×*BDP | 20 | 40 | 0.1 | 16.3 | HDX-40×*# | |||||
| U-H63×*BDP | 63 | 18.9 | HDX-63×*# | |||||||
| U-H100×*BDP | 25 | 100 | 22.5 | HDX-100×*# | ||||||
| U-H160×*BDP | 40 | 160 | 0.12 | 33.6 | HDX-160×*# | |||||
| U-H250×*BDP | 250 | 41.3 | HDX-250×*# | |||||||
| U-H400×*BDP | 50 | 400 | 0.15 | 57.0 | HDX-400×*# | |||||
| U-H630×*BDP | 630 | 61.8 | HDX-630×*# | |||||||
| U-H800×*BDP | 800 | HDX-800×*# | ||||||||
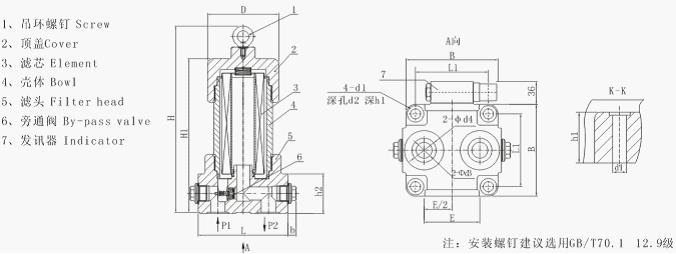
【安装外型尺寸】
1.管式

| 型号 | 尺寸(mm) | ||||||||
| ~H | ~h | L | I | b | D | d | m | M | |
| Z QU-H10X*P | 198 | 140 | 118 | 70 | Φ88 | Φ73 | 2-M6 | M27×2 | |
| Z QU-H25X*P | 288 | 230 | |||||||
| Z QU-H40X*P | 255 | 194 | 128 | 44 | 86 | Φ124 | Φ102 | 4-M10 | M33×2 |
| Z QU-H63X*P | 323 | 262 | |||||||
| Z QU-H100X*P | 394 | 329 | M42×2 | ||||||
| Z QU-H160X*P | 435 | 362 | 166 | 60 | 100 | Φ146 | Φ121 | M48×2 | |
注:流量为10 L/min时,出油口螺纹选用M18×1.5;25L/min时,出油口螺纹则选用M22×1.5,它属特殊订货,型号为ZUT-H10×*P;ZUT-H25×*P
2.法兰式

| 型号 | 尺寸(mm) | ||||||||
| ~H | ~h | L | I | b | D | d | d1 | m | |
| Z QU-H250×*FP | 508 | 430 | 166 | 60 | 100 | 146 | 121 | Φ40 | M10 |
| Z QU-H400×*FP | 545 | 461 | 206 | 123 | 170 | 146 | Φ50 | M12 | |
| Z QU-H630×*FP | 647 | 563 | 128 | Φ55 | |||||
| Z QU-H800×*FP | 767 | 683 | |||||||
2.1连接法兰请用户参照下列尺寸加工:

| 型号 | 尺寸(mm) | 法兰用"O”型圈 | 法兰用螺钉 | ||||||||||||
| A | B | C | D | D1 | D2 | D3 | d | E | d1 | ||||||
| Z QU-H250×*FP | 100 | 30 | 18 | Φ40 | Φ55 | 0 -0.2 | Φ52 | +0.2 0 | Φ60 | Φ98 | 2.4 | 0 -0.1 | 17 | Φ55×3.1 | M16×45 |
| Z QU-H400×*FP | 123 | 36 | 20 | Φ52 | Φ73 | Φ65 | Φ73 | Φ118 | 4.5 | 22 | Φ73×5.7 | M20×60 | |||
| Z QU-H630×*FP | 142 | 42 | 22 | Φ55 | Φ77 | Φ77 | Φ85 | Φ145 | Φ80×5.7 | M20×65 | |||||
| Z QU-H800×*FP | 142 | 42 | 22 | Φ55 | Φ77 | Φ77 | Φ85 | Φ145 | Φ80×5.7 | M20×65 | |||||
3.板式

| 型号 | 尺寸(mm) | |||||||||||||||
| ~H | ~H1 | R | d | L | B | I | d | E | F | h | h1 | h2 | d1 | d2 | d3 | |
| Z QU-H10×*BP | 200 | 132 | 46 | Φ 73 | 158 | 60 | 128 | 30 | 40 | 20 | 50 | 110 | 22 | Φ 15 | Φ24 | Φ13 |
| Z QU-H25×*BP | 290 | 222 | ||||||||||||||
| Z QU-H40×*BP | 254 | 184 | 62 | Φ102 | 190 | 64 | 160 | 32 | 50 | 25 | 65 | 138 | 25 | Φ25 | Φ32 | Φ15 |
| Z QU-H63×*BP | 322 | 252 | ||||||||||||||
| Z QU-H100×*BP | 384 | 314 | ||||||||||||||
| Z QU-H160×*BP | 411 | 338 | 73 | Φ121 | 212 | 72 | 180 | 40 | 60 | 30 | 77 | 164 | 30 | Φ32 | Φ40 | Φ17 |
| Z QU-H250×*BP | 492 | 414 | 80 | 48 | 30 | Φ40 | Φ50 | |||||||||
| Z QU-H400×*BP | 539 | 446 | 85 | Φ146 | 275 | 110 | 225 | 60 | 80 | 40 | 92 | 194 | 40 | Φ50 | Φ65 | Φ26 |
| Z QU-H630×*BP | 639 | 546 | ||||||||||||||
4.倒装管式

| 型号 | 尺寸(mm) | |||||||||||
| H | H1 | L | L1 | B | d1 | d2 | h | h1 | h2 | M | D | |
| Z QU-H10×*DLP | 198 | 148 | 130 | 95 | 115 | Φ9 | Φ14 | 27.5 | 33 | 54 | M27×2 | Φ92 |
| Z QU-H25×*DLP | 288 | 238 | ||||||||||
| Z QU-H40×*DLP | 247 | 197 | 156 | 115 | 145 | Φ14 | Φ20 | 34 | 41 | 68 | M33×2 | Φ124 |
| Z QU-H63×*DLP | 315 | 265 | ||||||||||
| Z QU-H100×*DLP | 377 | 327 | M42×2 | |||||||||
| Z QU-H160×*DLP | 415 | 365 | 190 | 140 | 170 | 46 | 50 | 92 | M48×2 | Φ146 | ||
5.倒装法兰式

| 型号 | 尺寸(mm) | |||||||||||
| H | H1 | D | L | L1 | B | d1 | d2 | h | h1 | h2 | d | |
| Z QU-H10×*DFP | 198 | 148 | Φ92 | 130 | 95 | 115 | Φ9 | Φ14 | 27.5 | 33 | 54 | Φ18 |
| Z QU-H25×*DFP | 288 | 238 | ||||||||||
| Z QU-H40×*DFP | 247 | 197 | Φ124 | 156 | 115 | 145 | Φ14 | Φ20 | 34 | 41 | 68 | Φ25 |
| Z QU-H63×*DFP | 315 | 265 | ||||||||||
| Z QU-H100×*DFP | 377 | 327 | ||||||||||
| Z QU-H160×*DFP | 415 | 365 | Φ146 | 190 | 140 | 170 | 46 | 50 | 92 | Φ32 | ||
| Z QU-H250×*DFP | 485 | 435 | Φ40 | |||||||||
| Z QU-H400×*DFP | 532 | 482 | Φ176 | 240 | 160 | 200 | Φ18 | Φ26 | 63 | 75 | 122 | Φ50 |
| Z QU-H630×*DFP | 632 | 582 | Φ55 | |||||||||
| Z QU-H630×*DFP | 752 | 702 | ||||||||||
6.倒装法兰式A型

| 型号 | 尺寸(mm) | ||||||||||||
| H | H1 | L | L1 | L2 | b | d1 | d2 | h | h1 | h2 | d | D | |
| ZQU-H10×*DFAP | 198 | 148 | 122.5 | 65 | 95 | 115 | Φ9 | Φ14 | 27.5 | 33 | 54 | Φ18 | Φ92 |
| ZQU-H25×*DFAP | 288 | 238 | |||||||||||
| ZQU-H40×*DFAP | 247 | 197 | 150.5 | 78 | 115 | 145 | Φ14 | Φ20 | 34 | 41 | 68 | Φ25 | Φ124 |
| ZQU-H63×*DFAP | 315 | 265 | |||||||||||
| ZQU-H100×*DFAP | 377 | 327 | |||||||||||
| ZQU-H160×*DFAP | 415 | 365 | 180 | 95 | 140 | 170 | 46 | 50 | 92 | Φ32 | Φ146 | ||
| ZQU-H250×*DFAP | 485 | 435 | Φ40 | ||||||||||
| ZQU-H400×*DFAP | 532 | 482 | 220 | 120 | 160 | 200 | Φ18 | Φ26 | 63 | 75 | 122 | Φ50 | Φ176 |
| ZQU-H630×*DFAP | 632 | 582 | Φ55 | ||||||||||
| ZQU-H800×*DFAP | 752 | 702 | |||||||||||
7.倒装法兰式B型

| 型号 | 尺寸(mm) | ||||||||||||
| H | H1 | L | L1 | L2 | B | d1 | d2 | h | h1 | h2 | d | D | |
| Z QU-H10×*DFBP | 198 | 148 | 122.5 | 65 | 95 | 115 | Φ9 | Φ14 | 27.5 | 33 | 54 | Φ18 | Φ92 |
| Z QU-H25×*DFBP | 288 | 238 | |||||||||||
| Z QU-H40×*DFBP | 247 | 197 | 150.5 | 78 | 115 | 145 | Φ14 | Φ20 | 34 | 41 | 68 | Φ25 | Φ124 |
| Z QU-H63×*DFBP | 315 | 265 | |||||||||||
| Z QU-H100×*DFBP | 377 | 327 | |||||||||||
| Z QU-H160×*DFBP | 415 | 365 | 180 | 95 | 140 | 170 | 46 | 50 | 92 | Φ32 | Φ146 | ||
| Z QU-H250×*DFBP | 485 | 435 | Φ40 | ||||||||||
| Z QU-H400×*DFBP | 532 | 482 | 220 | 120 | 160 | 200 | Φ18 | Φ26 | 63 | 75 | 122 | Φ50 | Φ176 |
| Z QU-H630×*DFBP | 632 | 582 | Φ55 | ||||||||||
| Z QU-H800×*DFBP | 752 | 702 | |||||||||||
8.倒装板式

| 型号 | 尺寸(mm) | |||||||||||||
| H | h1 | D | L | L1 | B | d1 | d2 | E | h1 | h2 | h3 | d4 | b | |
| Z QU-H10×*BDP | 196 | 146 | Φ92 | 130 | 90 | 115 | Φ11.5 | Φ18 | 60 | 31 | 50 | Φ15 | Φ24 | 14 |
| Z QU-H25×*BDP | 286 | 236 | ||||||||||||
| Z QU-H40×*BDP | 245 | 195 | Φ124 | 156 | 115 | 145 | Φ16 | Φ23 | 88 | 39 | 64 | Φ25 | Φ38 | 15 |
| Z QU-H63×*BDP | 313 | 163 | ||||||||||||
| Z QU-H100×*BDP | 375 | 325 | ||||||||||||
| Z QU-H160×*BDP | 413 | 363 | Φ146 | 190 | 135 | 170 | Φ18 | Φ26 | 104 | 48 | 88 | Φ40 | Φ50 | 23 |
| Z QU-H250×*BDP | 483 | 433 | ||||||||||||
| Z QU-H400×*BDP | 530 | 480 | Φ176 | 240 | 160 | 200 | Φ26 | Φ38 | 144 | 70 | 118 | Φ50 | Φ65 | 24 |
| Z QU-H630×*BDP | 630 | 580 | ||||||||||||
| Z QU-H800×*BDP | 750 | 700 | ||||||||||||
9.连接法兰请用户参考下列尺寸加工

| 型号 | 尺寸(mm) | 法兰用“Q”型圈 | 法兰用螺钉 | ||||||||||||
| A | B | C | D | D1 | D2 | D3 | d | E | D1 | ||||||
| Z QU-H10×*d△P | 52 | 22 | 11 | Φ18 | Φ30 | 0 -0.2 | Φ28 | +0.2 0 | Φ36 | Φ50 | 2.4 | 0 -0.1 | Φ9 | Φ30×3.1 | M8×40 |
| Z QU-H25×*d△P | |||||||||||||||
| Z QU-H40×*d△P | 66 | 12 | Φ25 | Φ40 | Φ35 | Φ43 | Φ62 | Φ11 | Φ40×3.1 | M10×45 | |||||
| Z QU-H63×*d△P | |||||||||||||||
| Z QU-H100×*d△P | |||||||||||||||
| Z QU-H160×*d△P | 90 | 26 | 16 | Φ32 | Φ50 | Φ43 | Φ51 | Φ85 | Φ17 | Φ50×3.1 | M16×45 | ||||
| Z QU-H250×*d△P | Φ40 | Φ52 | Φ60 | ||||||||||||
| Z QU-H400×*d△P | 120 | 36 | 20 | Φ52 | Φ73 | Φ65 | Φ73 | Φ118 | 4.5 | Φ22 | Φ73×5.7 | M20×65 | |||
| Z QU-H630×*d△P | Φ55 | Φ80 | Φ77 | Φ85 | Φ80×5.7 | ||||||||||
| Z QU-H800×*d△P | |||||||||||||||
关注上一个:
ZU-H-P压力管路过滤器
丨
关注下一个:
GU-H系列自封式压力管路过滤器








